Wednesday, July 27, 2016

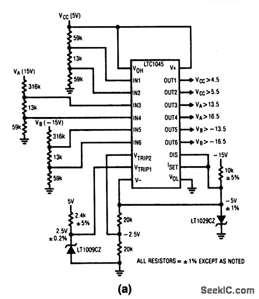
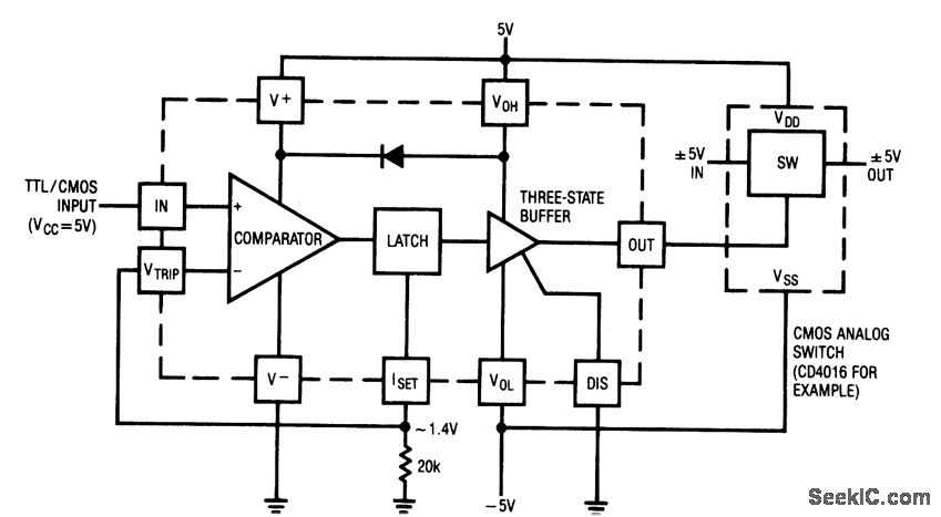
Power Supply Monitor

Power Supply Monitor Pictures

List Of CPU power Dissipation Figures - Wikipedia, The Free ...
Early CPUs. Note that these figures include power dissipation due to energy lost by the computer's power supply and some minor peripherals. However, since the CPU component of these early computers easily accounted for most of the computer's power dissipation, they are mentioned here: ... Read Article

Images of Power Supply Monitor

MAXIM - Dallas Semiconductor - Datasheet Pdf
Power Supply Monitor with 4.65V Reset Threshold: 3: MAX709R: Power Supply Monitor with 4.65V Reset Threshold: 4: MAX709S: Power Supply Monitor with 4.65V Reset Threshold: 5: MAX709T: Power Supply Monitor with 4.65V Reset Threshold: Select the part name and then you can download the datasheet in ... Read Document

Photos of Power Supply Monitor

What Is A Power Supply Unit? (PSU, Power Supply)
A power supply unit (PSU) is the device that converts AC power from the wall into the right kind of power for the individual parts of your computer. ... Read Article

Photos of Power Supply Monitor

Temperature And Power Supply System Monitors (Rev. A)
Temperature and Power Supply System Monitors Check for Samples: TMP512, TMP513 1FEATURES DESCRIPTION – Upper Over-Limit current shunt and power monitor. It monitors both the – Lower Under-Limit shunt drop and supply voltage. A programmable ... Retrieve Full Source

Power Supply Monitor

LTC2970/LTC2970-1 - Dual I2C Power Supply Monitor And ...
Supply Monitor and Margining Controller VDD Power Supply, Voltage Monitor Input, and Internal 5V Regulator Output. The supply input range is 4.5V to 5.75V. The VDD pin voltage can be connected to the ADC through an internal mux. Bypass the VDD pin ... Access Doc

Power Supply Monitor Pictures

Surge Protector - Wikipedia, The Free Encyclopedia
A power bar with built-in surge protector and multiple outlets. The terms surge protection device (SPD) and transient voltage surge suppressor (TVSS) are used to describe electrical devices typically installed in power distribution panels, process control systems, communications systems, and ... Read Article

Power Supply Monitor

Power-Supply Monitor With Reset MAX709 - Maxim Integrated
MAX709 Power-Supply Monitor with Reset _____ Maxim Integrated Products 1 N.C. N.C. VCC RESET ... Fetch This Document

Power Supply Monitor Images

PS-600-24-M1 Power Supply And Monitor - Cooper Industries
Input Monitor Linear Output (1.25V – 5.0V) for 200V – 600V Input Voltage ... Retrieve Content

Pictures of Power Supply Monitor

LCD Monitor power supply Repair - YouTube
Most of LCD monitors are prone to having bad capacitors in their power supply after a while. Generally this is caused by low quality capacitors which companies are using in the DC part of the power supplies to save some cents on production, hoping that users will throw away their ... View Video

Power Supply Monitor Photos

LTC2970 DUAL POWER SUPPLY MONITOR AND MARGIN CONTROLLER
LTC2970 1 DESCRIPTION Demonstration circuit DC1262A&B features the LTC2970CUFD running in conjunction with a low cost microcontroller to form a complete dual power supply ... Fetch This Document

Power Supply Monitor

DC980A DC980B Dual Power Supply Monitor And Margining ...
1 980 Demo manual Dc980aDc980B Description Dual PowerSupplyMonitor and MarginingController with LTC3828 Dual DC/DC Supply The DC980A and DC980B are a demonstration system that ... Retrieve Document

Power Supply Monitor Photos

Power Efficiency And power Management In HP ProLiant
Power efficiency and power management standby power supply can be brought online quickly enough to maintain server power if the primary Insight Manager, you can monitor the power consumption of a server over long periods and can ... Document Viewer

Power Supply Monitor Pictures

What Is A Power Supply Voltage Switch? - About.com Tech
Some power supplies do not have a manual power supply voltage switch. These power supplies automatically detect the input voltage and set it themselves. ... Read Article

Images of Power Supply Monitor

Octal PMBus Power Supply Monitor Manages DC/DC Converters ...
News Release ⎜ www.linear.com . Octal PMBus Power Supply Monitor Manages . DC/DC Converters Digitally . MILPITAS, CA – August 3, 2009 – Linear Technology Corporation introduces the LTC2978 ... Get Doc

Power Supply Monitor Images

LG Flatron L246WP-BN Monitor Repair Tutorial - YouTube
My LCD computer monitor quit where LED stopped lighting and would not power on. Video guide shows dis-assembly and repair of broken display. Power supply sai ... View Video

Pictures of Power Supply Monitor

Power-Supply Monitor With Reset - Farnell Element14
MAX700/701/702 Power-Supply Monitor with Reset Maxim cannot assume responsibility for use of any circuitry other than circuitry entirely embodied in a Maxim product. ... Read Content

Power Supply Monitor

Power Supply Voltage Tolerances - About.com Tech
A list of power supply voltage tolerances. Included are tolerances for the +/- 12VDC, +/- 5VDC, +5 VSB, and +3.3VDC voltages output by a computer PSU. ... Read Article

Power Supply Monitor

Thank You For Purchasing Our 10.2” LCD Monitor Kit.
Thank you for purchasing our 10.2” LCD Monitor Kit. Power Supply. 12v DC . Video Input. Dual Channel RCA & BNC Video Inputs . Audio. This is a 12 volt Li-ion Battery that will power your monitor. Includes Battery, AC Charger and Case. ... Return Document

Pictures of Power Supply Monitor

POWER SUPPLY MONITOR - Hw.cz
1 DS04-27400-5E FUJITSU SEMICONDUCTOR DATA SHEET ASSP POWER SUPPLY MONITOR MB3771 POWER SUPPLY MONITOR The Fujitsu MB3771 is designed to monitor the voltage level of one or two power supplies ... Read More

Power Supply Monitor Images

DS1231/S Power Monitor Chip - Maxim Integrated
DS1231/S 022698 2/9 OPERATION The DS1231 Power Monitor detects out-of-tolerance power supply conditions and warns a processor-based system of impending power failure. ... Access Doc

Power Supply Monitor Pictures

Power Supply Monitor With Watch-Dog Timer
1 FUJITSU SEMICONDUCTOR DS04-27401-4E DATA SHEET ASSP Power Supply Monitor with Watch-Dog Timer MB3773 DESCRIPTION The Fujitsu MB3773 is designed to monitor the voltage level of a power supply (+5V or an ... Doc Viewer

Power Supply Monitor Photos

FSP Announces Twins: 500W And 700W ATX PSU With Redundancy Capability
FSP this week announced its new series of redundant PSUs called the 'Twins'. The new power supplies are compatible with standard ATX and PS2 tower chassis, but provide redundancy capabilities and can thus enable building non-stop servers using 'relatively affordable' components. The manufacturer positions the FSP Twins PSUs for home and SMB mail, web and intranet servers when building in a ... Read News

Photos of Power Supply Monitor

Distribution Transformer - Wikipedia, The Free Encyclopedia
A distribution transformer or service transformer is a transformer that provides the final voltage transformation in the electric power distribution system, stepping down the voltage used in the distribution lines to the level used by the customer. ... Read Article

Power Supply Monitor Photos

HP X20LED, X22LED, X22LEDc And X23LED Monitors User Guide
Power. When the monitor is "awakened," a brief warm-up period occurs before the monitor returns to normal operating mode. The energy-saving reduced power state The monitor power supply is provided with Automatic Line Switching (ALS). This ... Fetch Here

Power Supply Monitor Photos

Dell Replacement Power Supply
Introduction Thank you for your purchase of a StarTech.com ATX 12V Dell replacement Power Supply. Designed for extra-long life in personal and industrial computers, this Power ... Fetch Doc

Power Supply Monitor

Tips On Using A PC Power Supply For Projects
A computer power supply is fine for testing purposes, but will never produce power like a good lab power supply, so if you intend on using your power supply for more than just testing, buy yourself a good lab supply. There is a reason they cost so much. ... Get Document

Photos of Power Supply Monitor

ADM709 Power Supply Monitor With Reset Data Sheet (Rev. 0)
ADM709 REV. 0 –3– RESET at Voltages < 1 V The ADM709 RESET output is guaranteed to operate with supply voltages as low as 1 V. If it is desired that the RESET ... Access Full Source

Power Supply Monitor Images

Triple Power Supply With Digital Monitor PART NO. 2182661
Triple Power Supply with Digital Monitor . PART NO. 2182661 . This project is based on an unregulated wall adapter/transformer for regulating three ... Doc Retrieval

Power Supply Monitor

AN204: POWER SUPPLY MONITOR - EnOcean
Title: AN204: POWER SUPPLY MONITOR – Supply Voltage Monitor for STM 110/110C Author: EnOcean GmbH Keywords: POWER SUPPLY MONITOR – Supply Voltage Monitor for STM 110/110C ... Visit Document

Pictures of Power Supply Monitor

Repairing A Dell 17" Lcd monitor - YouTube
I received this dell monitor for free because it would not turn on, I suspected a problem in the power supply circuit. I found 2 bad capacitor, I replaced them and now it works perfectly. It is a dell 1704fpt. ... View Video

No comments:

Post a Comment